Каталог

Петля GTV с доводчиком, смежная (комплект - 2 шт) ZM-INHC08H04-BE-2BAG

Артикул товара: 52699
Избранные товары

Характеристики

Производитель GTV
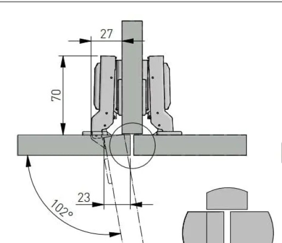
Вид товара Петля
Вид петли Четырехшарнирная
Вид навески Полунакладная
Вид монтажа Быстрый
Угол корпуса + 90°
Доводчик Есть
Диаметр чаши (мм) 35 мм
Глубина чаши (мм) 12 мм
Пружина Стандартная
Монтажная планка В комплекте с петлей

Цена в Челябинске
196,76 ₽ / к/т

Наличие товара в городах
Челябинск больше 100 к/т
Уфа 52 к/т
Тюмень 49 к/т

Выбрать город
Челябинск
Челябинск, ул. Шарова, 77
+7 (351) 734-97-98 (многоканальный)
Уфа
Республика Башкортостан, Уфа, Базисный проезд, 4
+7 (347) 216-55-40 (многоканальный)
Тюмень
Тюмень, Московский тракт, 136/9
+7 (3452) 66-63-33 (многоканальный) , +7 982 972-27-33